红外线灯泡,近红外光源,气体传感器
押野电气制作所提供用于空调,气体检测器的NDIR红外光源,
也可以用于汽车产品(符合AEC-Q200试验标准)。
为什么选择白炽灯泡?
光学气体传感器需要近红外线光源,所以选择灯泡为主要光源。
灯泡的波长范围400nm~5,000nm之间,红外输出很多,因此它是气体传感器光源的最理想的装置。
押野电气的红外线灯泡的特点
高品質
-
从设计开始到试做、量产都是由日本的鹿儿岛工厂对应。通过对产品开发、生产的整合从而保持产品的高质量。
量産性
-
押野电气使用全自动产线制造灯泡。我们提供高质量和均一性产品,同时也有适合封装贴片的SMD产品。
在日本成立90多年的老字号灯具制造商
-
押野电气制作所是超过90年的小型钨丝灯的先驱制造商。
鼎盛时期,押野电气拥有年制造和销售量超过1亿的业绩, 用于飞机和汽车上。
我们会继续为客户提供具有可靠技术和质量的灯具。 
NDIR传感器用灯泡的用途
-
・汽车二氧化碳传感器
・二氧化碳的检测(二氧化碳传感器・红外线传感器)
・汽车的尾气排放测定
・新能源汽车电池泄露监测
・车内/室内环境的观察
・气体/火灾的感知
・酒精感知
・冷媒气体/温室效应气体测量
・NDIR光源
・红外线灯泡
其他用途 -
产品规格
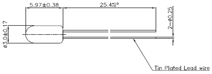
■OL-715TPL-200 外观尺寸以及电气/光学特征

玻璃材质:软性玻璃
| 項目 | 额定/标准 | 范围 | 単位 | 参考(使用条件・定義) | |
| 电气特性 | 设计電圧 | 5.0 | - | V | |
| 设计电流 | 115 | ±10% | mA | ||
| 冷电阻值 | 4.7 | ±0.5 | Ω | ||
| 热电阻值 | 55.0 | ±5.5 | Ω | ||
| 光学特性 | 亮度(MSCP) | 0.15 | ±0.25% | MSCP | |
| 响应速度 | 110 | ±10 | ms | 波长3.9um、稳定输出功率的80%到达时间 | |
| 灯丝温度 | 2,180 | ±30 | K | 5V施加电压时 | |
| 2,020 | ±30 | K | 4V施加电压时 | ||
| 1,830 | ±30 | K | 3V施加电压时 | ||
| 波长 | 380~5,000 | - | nm | ||
| 外观尺寸 | 灯丝形状 | C-2R | - | - | |
| 直径Φ | 3.00 | ±0.17 | mm | ||
| 高度 | 5.97 | ±0.38 | mm | ||
| 引线长度 | 25.4 | +1.0/-0.0 | mm | ||
| 引线直径 | 0.25 | ±0.015 | mm | ||
| 引线电镀 | 镀锡 | - | - | ||
| 其他 | 工作温度 | -40~+80 | - | ℃ | |
| 保存温度 | -40~+80 | - | ℃ | ||
| 灯泡表面温度 | 63 | ±6 | ℃ | 5V施加电压时 |
技术参数/技术数据
红外线指向特征
发光辉度




